zhelj писал(а):А машина времени каким боком? Тут и гравитация не при пакете. Налицо электромагнитные силы. Сколько их создашь, столько и будет. Или вы силу, Dinatron, от времени не отличаете?
СПОСОБ И УСТРОЙСТВО УПРАВЛЕНИЯ ТЕМПОРАЛЬНЫМИ ХАРАКТЕРИСТИКАМИ ФИЗИЧЕСКИХ ПРОЦЕССОВ ПУТЕМ ИЗМЕНЕНИЯ ПЛОТНОСТИ ЭНЕРГИИ ПРОСТРАНСТВАМы начинали данный проект с целью изучения физических свойств пространства-времени. Прикладные аспекты данной технологии: Медицина.. Применяя данную технологию в лечебных целях, мы можем помещать биологические организмы внутри устройства, в некотором объеме пространства которго созданы особые условия измененной плотности энергии (плотности эфира).
Создание движущей силы. Изменение плотности эфира в области пространства устройства, работающего по предлагаемой технологии, должно создавать вектор силы, направленный вдоль градиента естественной плотности эфира, то есть в радиальном направлении по отношению к центру масс планеты.
Изобретение, которое мы сегодня представляем, относится к способам и устройствам для управления темпом различных физических процессов, включая сам процесс существования материи в пространстве-времени, путем увеличения или уменьшения плотности энергии пространства (физического вакуума или эфира).
Рассмотрим историю изобретения:
Ранее предлагались различные способы и устройства для оказания влияния на скорость физических и химических реакций, биологических процессов или периода колебаний системы. В работах Козырева Н.А. [1] описаны эксперименты по влиянию одного процесса, например, испарения или кристаллизация вещества, на период другого процесса, который является датчиком и сравнивается с эталонным колебательным процессом. В одном случае, в области пространства рядом с процессом испарения вещества, темп колебаний датчика уменьшается. В другом случае, рядом с процессом кристаллизации вещества, темп колебаний датчика увеличивается. Используя термин «энтропия» можно сказать, что процессы, идущие с увеличением энтропии, например переход вещества из твердого состояния в жидкое, создают вокруг себя такое влияние на материю (окружающие процессы), что энтропия систем уменьшается. В другом случае, например, рядом с процессом кристаллизации, энтропия систем в области пространства около данного процесса увеличивается. Козырев использовал термин «волна плотности времени» и сделал вывод о том, что, кроме такой характеристики как «направленность», время имеет активные свойства, например, плотность.
Развитие данного подхода в прикладных целях требует глубокого анализа физического смысла понятия «плотность времени». Связь направленности времени и энтропии системы была показана в работах Ильи Пригожина Введение в термодинамику необратимых процессов, 1964 года [2]. В работе Сахарова «Квантовые флуктуации вакуума в искривленном пространстве и теория гравитации» [3] предложена концепция структуры вакуума. В США широко известна работа Харольда Путхофа «Может ли вакуум быть сконструирован для прикладных задач космонавтики?» [4], в которой он рассмотрел прикладные аспекты изучения структуры вакуума и описал способ и устройство для получения движущей силы за счет изменения свойств вакуума.
Субстанциональная концепция времени и методы создания волн плотности энергии, также были рассмотрены в работе «Время - физическая субстанция» Профессора Бутусова К.П., 1991 год [5]. В книге Белостоцкого Ю.Г. «Что такое Время?» [6] показана связь понятий времени и эфира, которая рассматривалась в данной книге в астрофизическом смысле.
Можно сказать, что современная концепция эфира успешно развивается в работах Ацюковского В.А. [7].
В моих статьях, в частности, «Физические принципы машины времени» [8] было показано, что для развития экспериментальных работ в данной области целесообразно уточнить терминологию и рассматривать «волны плотности времени», как продольные волны плотности энергии в пространстве, при этом понятие «плотность времени» имеет физический смысл плотности энергии (плотности эфира).
Данный подход практически реализуется электротехническими и радиотехническими методами и является развитием эфиродинамической концепции Фарадея о природе электричества и магнетизма (смотрите том 3 трудов Фарадея «Экспериментальные исследования по электричеству» [9].
Рассматривая обычный двухполюсный магнит с точки зрения эфиродинамики, можно сказать, что он представляет собой исток и сток эфира, то есть сбалансированную энергетическую систему, которая не изменяет плотность энергии в пространстве. В таком случае, очевидно, что создание магнитного монополя или моделирование квазимонополя электродинамическими методами, является технической основой получения локального изменения плотности энергии в пространстве.
Кроме магнитных явлений можно использовать электрические процессы, например, вопрос о создании продольной волны также был рассмотрен в другой работе Профессора Бутусова «Симметризация уравнений Максвелла – Лоренца» [10], в которой он показал, что электрически заряженная сфера может излучать продольную волну при изменении радиуса сферы, то есть ее поверхности при сохранении величины электрического заряда.
Известен еще один метод, который описан Поляковым в книге «Экспериментальная гравитоника» [11], где рассматривается вопрос генерации гравитационных волн при высокочастотном перемагничивании ферромагнетика, то есть при мощной объемной магнитострикции. Поскольку при этом явлении изменяется плотность вещества, то есть плотность энергии в пространстве, занимаемом веществом, то объемная магнитострикция является частным случаем изменения плотности энергии.
Ранее Вадим Александрович Чернобров описывал способ и устройство для управления темпоральными характеристиками физических и химических процессов путем создания модели магнитного монополя (квазимонополя), в котором образуется сходящаяся волна от нескольких источников, расположенных на сферическом корпусе. В соответствии с данным способом, в многослойной сферической конструкции, где каждый из слоев (так называемая «электромагнитная рабочая поверхность») является совокупностью электромагнитов, путем последовательного включения слоев создается волна, сходящаяся к центру устройства. Устройство имеет один магнитный полюс снаружи и другой магнитный полюс внутри, таким образом, моделируется макроскопический магнитный монополь.
Мы полагаем, что при условии синфазной работы всех источников волн, интерференция продольных волн обеспечивает некоторое изменение величины плотности энергии пространства в фокусе системы.
Экспериментальные факты состоят в том, что расположенные в центре устройства датчики, например, механические или электромагнитные осцилляторы, показывают изменение периода собственных колебаний. Мы обеспечивали экранирование датчиков от теплового и другого электромагнитного влияния. Таким образом, можно утверждать, что датчики замедляют или ускоряют свой период колебания в зависимости от создаваемой плотности энергии в центре устройства.
Однако эксперименты, проведенные с использованием такого устройства, требуют тщательной настройки всех источников волн для обеспечения их синфазной работы. При этом стабильность работы всей системы зависит от стабильности работы каждого из источников волн. Повышение частоты импульсов приводит к увеличению эффекта, но оно ограничено параметрами электромагнитов и генератора импульсов. Кроме того, для увеличения эффекта необходимы более мощные источники электропитания, поскольку сила тока в обмотках электромагнитов определяет величину магнитного поля создаваемого квазимонополя.
Поскольку эффективность подобных систем непосредственно зависит от частоты и величины изменений плотности энергии в пространстве, то мы предлагаем в следующей версии реализации данного устройства применить плазменные оболочки вместо электромагнитных рабочих поверхностей, что позволит значительно повысить удельные характеристики устройства.
Итак, рассмотрим основные технические принципы работы и наметим пути развития данного метода. Перейдем к рисункам.
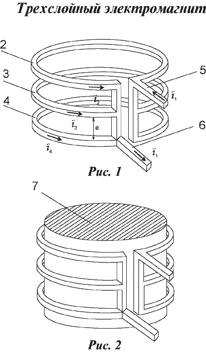
Рис.1 изображает трехслойный электромагнитный излучатель, выполненный в соответствии с изобретением, в котором создается направленное излучения волны плотности энергии вдоль его оси.
Описанная конструкция разработана по идее Чернобров Вадима Александровича и предназначена для создания направленной волны плотности энергии за счет использования фазового сдвига в распространении фронта импульса в трех участках тока i1, i2, i3, которые смещены вдоль оси электромагнита на некоторое расстояние d.
Устройство работает следующим образом. При включении генератора импульсов на выводе 4 появляется фронт импульса тока i0. За счет пространственного смещения участков тока 1, 2 и 3 относительно друг друга вдоль оси электромагнита на расстояние d, фронт импульса на участке 1 опережает фронт импульса на участке 2, а тот в свою очередь опережает фронт импульса на участке 3 на некоторое время T. Второй вывод электромагнита 5 расположен таким образом, что фронт импульса на участке 1 будет отставать от фронта импульса на участке 2, который также отстает от фронта импульса на участке 3 на то же самое время Т, поэтому на участке 5 вновь формируется единый фронт импульса.
Время Т вычисляется следующим образом:
T = d/c (секунд), где с – постоянная распространения фронта импульса, известная как скорость света. (Формула 1)
При каждом импульсе величина T (относительной задержки фронта импульса) остается неизменной. Таким образом, при каждом импульсе создается последовательное возбуждение слоев электромагнита с очень высокой частотой, которая определяется следующим образом:
f = 1/T (Герц), где T – относительная задержка фронта импульса в секундах. (Формула 2)
Пример расчета частоты: для величины смещения d=7 мм получаем задержку
T=(7/2,997924) x 10-11 = 2,335 x 10-11 (секунд),
и частота f = 1/T составляет примерно 4,28 x 1010 (Герц).
Таким образом, данная конструкция трехслойного электромагнитного излучателя позволяет создавать волны сверхвысокочастотного, например, миллиметрового диапазона, без применения полупроводниковых и других радиотехнических элементов.
Целесообразно, чтобы электромагниты были выполнены с использованием сердечников из магнитострикционного материала, что значительно увеличивает плотность энергии продольной волны, создаваемой многослойным электромагнитом. На Рис.2 показан вариант выполнения излучателя с сердечником. В случае применения высокочастотных ферромагнитных магнитострикционных материалов 6 эффективность работы излучателя значительно возрастает.
На Рис.3 показано сферическое размещение излучателей 7 на верхней 8 и нижней 9 полусферах корпуса, который может открываться для размещения внутри него датчиков, различных объектов и изучения влияния изменений плотности энергии пространства на свойства различных материалов, скорость протекания физических и биологических процессов, а также химических реакций. На Рис.4 показано расположения датчиков 10 внутри устройства.
В другом варианте реализации устройства на Рис.5 показан вариант воплощения предлагаемого способа в виде сферического электрического конденсатора с тремя обкладками 11, 12 и 13, каждая из которых подключается к выходу трехфазного генератора импульсов 14.
Волна плотности энергии в данном случае создается без отдельных электромагнитных излучателей и данный принцип не относится к области моделирования магнитного квазимонополя. Устройство работает благодаря тому, что блок управления обеспечивает высокочастотные изменения электрического потенциала на каждой из обкладок таким образом, что создается режим высокочастотной сходящейся или расходящейся волны плотности энергии. Фактически, это трехфазный генератор, но он создает не вращение ротора электромотора, а, так сказать, сжатие или разряжение эфира, «накачивая» его в центр устройства или «откачивая» его наружу.
В данном устройстве не требуется настройка отдельных источников волн для работы в синфазном режиме, что обеспечивает надежность работы устройства по сравнению с квазимонополем. Кроме того, процессы заряда и разряда многослойного сферического электрического конденсатора требуют намного меньше энергии, чем создание магнитного поля токами проводимости.
Поскольку эффективность подобных систем непосредственно зависит от частоты и величины изменений плотности энергии в пространстве, то мы предлагаем в следующей версии реализации данного устройства применить плазменные оболочки вместо электромагнитных рабочих поверхностей, что позволит значительно повысить удельные характеристики устройства. Для этого достаточно, чтобы обкладки многослойного конденсатора были помещены в газовую среду и выполнены в виде сетчатых электродов. При этом волна создается в плазме, возбуждаемой послойно несколькими сетчатыми электродами, расположенными в пространстве между внутренним и внешним корпусом. Таким образом, данный вариант реализации устройства можно отнести к способам манипулирования плазмой.
На Рис.6 показан еще один вариант реализации устройства, выполненного в виде внутреннего корпуса 15 и внешнего корпуса 16, пространство между которыми заполнено газом 17. Три электрода 18, 19 и 20 подключены к источнику импульсов 21. Последовательное возбуждение слоев плазмы электродами 18, 19 и 20 создает волну плотности энергии, которая может распространяться как по направлению к центру устройства, так и по направлению от центра устройства.
Рис.7 является принципиальной электрической схемой варианта, показанного на Рис. 6.
Сделаем выводы. Работа находится в самом начале. Мы ясно представляем себе физические принципы работы устройств, которые будут способны значительно изменить плотность эфира в заданной области пространства и таким образом влиять на темпоральные характеристики физических процессов. Полученные сегодня минимальные результаты позволяют сделать положительный вывод о работоспособности предлагаемого способа и возможности его практического применения в прикладных аспектах.
Подана заявка на изобретение, номер 2003110067, приоритет Российской Федерации от 9 апреля 2003 года. В настоящее время нас интересует оценка рынка данных технологий, в том числе международного, инвестиции и партнеры.

Литература
1. Козырев Н.А., Избранные труды, изд. ЛГУ, 1991 г.
2. Пригожин И. Введение в термодинамику необратимых процессов. М., 1964
3. Сахаров А.Д., Квантовые флуктуации вакуума в искривленном пространстве и теория гравитации, Доклады Академии Наук СССР, т.12, 1968 г. стр.1040.
4. Путхоф Харольд, «Может ли вакуум быть сконструирован для прикладных задач космонавтики?», "Can the vacuum be engineered for space flight applications? Overview of theory and experiments," Dr. H.E. Puthoff, Infinite Energy, July-November, 1997.
5. Бутусов К.П. Время - физическая субстанция. Сборник «Проблемы пространства и времени в современном естествознании». Вып.14. Л. 1990. стр.301-311;
6. Белостоцкий Ю.Г. «Что такое время?», Санкт-Петербург, 1991 г.
7. Ацюковский В.А., «Общая эфиродинамика», М., Энергоатомиздат, 1990 г.
8. Фролов А.В., Физические принципы машины времени, Новая Энергетика, № 3(6), стр.8-10, Санкт-Петербург, 2002.
9. Фарадей М. Экспериментальные исследования по электричеству. Т. 3. М., 1959, сер. XIX.
10. Бутусов К.П., Симметризация уравнений Максвелла – Лоренца, Проблемы Пространства и времени в современном естествознании, том 15, Л., 1991 г.
11. Поляков С.М., Поляков О.М., «Введение в экспериментальную гравитонику», изд. Прометей, стр. 58-59, М. 1991.
12. Чернобров В.А., «Тайны Времени», изд. «Олимп», М. 1999 г.